Monday, April 20, 2015

Kenmore Fridge Repair Help

Kenmore Fridge Repair Help Photos

Kenmore Refrigerator Repair Manual Model
Kenmore Side By Refrigerator Ice Maker Repair Manual from "kenmore side by refrigerator ice maker repair manual" All Products (200) Looks like you ... Document Viewer

Kenmore Fridge Repair Help Images

Repair Manual For Kenmore Refrigerator
Repair Manual For Kenmore Refrigerator Kenmore Refrigerator Parts Get help with any Refrigerator repair at Sears Home Services, #1 in Appliance Repair. "manual for kenmore elite refrigerator" fridge, kenmore elite 41073, kenmore 253 refrigerator, ... Fetch Full Source

Photos of Kenmore Fridge Repair Help

Kenmore Refrigerator 10674202402 Repair Manual
Free Kenmore Elite Top mount Repair Kenmore Elite Top mount Model #10674202402 was saved Elite Fridge 25344509607 Kenmore Elite Refrigerator. Repair Help for Refrigerators >> Return Repair Manual Reservoir ... Fetch Here

Kenmore Fridge Repair Help Images

Kenmore Refrigerator Repair Manuals
Free Kenmore Refrigerator help, support & customer service. Ask your Home and Garden questions. Get solutions from top Kenmore experts. Refrigerator Repair; Washer Repair; fridge, kenmore 253 refrigerator, fridge freezer, Looks like ... Read Here

Pictures of Kenmore Fridge Repair Help

TECHNICAL SERVICE GUIDE - Appliance Repair And Parts Help ...
Refrigerator if the pan or drawer breaks during normal household use. shelves have special edges to help prevent spills from dripping onto lower shelves. The QuickSpace shelf splits in half and slides Repair as necessary ... Return Doc

Kenmore Fridge Repair Help

Kenmore Elite Refrigerator Self Repair Manual
Kenmore Elite Refrigerator Self Repair Manual If you are looking for a book Kenmore elite refrigerator self repair manual solefkx in pdf format then ... Return Doc

How To Maintain Your Refrigerator - Frugal Living
Learn what you need to do to keep your fridge running well now and for years to come. Difficulty: Easy. Time Required: If your refrigerator isn't level the doors may not close on their own or may not seal as tightly as they're supposed to Help; Write for About ... Read Article

Pictures of Kenmore Fridge Repair Help

Kenmore Bottom Mount Refrigerator Repair Manual
Manuals & Repair Help; Get Manuals Kenmore Bottom Mount Refrigerator Mod it is not visiable from the front or bottom. Refrigerator Repair; "kenmore bottom mount refrigerator" kenmore fridge, kenmore mini fridge, refrigerator bottom freezer, ... Return Doc

Kenmore Fridge Repair Help Photos

Kenmore Refrigerator Repair Manual Model
Kenmore Refrigerator Repair Manual Model Kenmore Refrigerator Manuals, Care Guides & Literature Parts Shop for your Kenmore Refrigerator Manuals, What is a model number, Do-it-yourself repair ... Read More

Ice Maker Water Line - How To Repair Your Home’s Plumbing
Running an ice maker water line can be an easy job for the do it yourselfer. Also check for leaks where it connects to the refrigerator before pushing the fridge back into place. Help; Write for About; ... Read Article

Photos of Kenmore Fridge Repair Help

Portable Air Conditioning Units Gloucester
In 2011 Sewer the popular web siteYouTube.com has seen the posting of numerous comedy skit exploit for getting a nuclear Refrigeration Units For ... View Video

Moving Appliances - How To Move A Refrigerator
One that can handle heavy equipment especially if you have to negotiate stairs or are loading the fridge into a moving truck using a ramp. Position the fridge on the dolly. have an extra person help. Moving it onto the truck. Pull the refrigerator up the truck ramp, using extra help, if ... Read Article

Kenmore Fridge Repair Help Photos

Kenmore Refrigerator 58813 Repair Manual
Kenmore Refrigerator 58813 Repair Manual Kenmore Refrigerator Parts | SearsPartsDirect Shop the best selection of Kenmore refrigerators repair & replacement parts at Sears ... Read Content

Kenmore Fridge Repair Help

Sears Kenmore Refrigerator Repair Manual 79539
Sears Kenmore Refrigerator Repair Manual 79539 Refrigerators | Fridges For Sale Free Kenmore Refrigerator help, support & customer service. Ask your Home and Garden Download Samsung fridge manual.pdf Download 1989 force 125 hp outboard manual.pdf ... Fetch Content

Kenmore Fridge Repair Help Photos

Kenmore Refrigerator 596 Repair Manual
Manuals & Repair Help; Get Manuals Why is my Kenmore Elite 596 refrigerator not staying Kenmore 596 Fridge Repair on Vimeo Kenmore 596 Fridge Repair. It's a Sears Kenmore model 596.62912200 with 19 cubic feet. refrigerator repair fridge kenmo; Also Check Out ... Get Doc

Kenmore Fridge Repair Help Photos

Commercial Dishwasher: October 2014
.homestead.com/THREE_IN_ONE_HOUSE_CLEANING___REPAIR_SERVICE.doc Palm Harbor Even the popular web siteYouTube.com </span><a href .com 130 value! cookware cooktops when you buy a wall oven! additional appliance dishwasher when you purchase any kitchenaid fridge + range the ... View Video

Pictures of Kenmore Fridge Repair Help

Kenmore Refrigerator Repair Manual Model 106 50203993
10650203993 Kenmore Refrigerator Parts and Repair Help Get Parts and Repair Help for 10650203993 Kenmore Refrigerator. If you know the refrigerator Kenmore Refrigerator Manual 596 Posted at July 10th, 2012, lg fridge models. homelite tillers pdf user guide. free cars pdf manuals. ... Get Document

Kenmore Fridge Repair Help Images

Commercial Dishwasher: Commercial Dishwasher Brands
130 value! cookware cooktops when you buy a wall oven! additional appliance dishwasher when you purchase any kitchenaid fridge our brands, products, services or mill manipulate siteYouTube.com has seen the rank / / Dishwasher Training/Repair Manual ... View Video

Kenmore Fridge Repair Help Photos

Kenmore Refrigerator Ice Maker Repair Manual
Kenmore Sears ColdSpot Refrigerator Ice Maker Parts & Accessories Original Kenmore Sears kenmore coldspot fridge ice makers, kenmore coldspot ice maker Ice Maker Repair Troubleshooting help for Kenmore Ice Makers and Solenoid Valves. All prices are in USD. 2015 Refrigerator Ice Maker ... View Document

Kenmore Fridge Repair Help Images

Kenmore Refrigerator 58813 Repair Manual
Kenmore Refrigerator 58813 Repair Manual KENMORE ELITE Side by Side Refrigerator Owner's KENMORE ELITE Side by Side Refrigerator Manual Related manuals Upright Freezer ... Access Document

Portable Ac: Small Portable Ac Units For Camping
Small Portable Ac Units For Camping The Nature Of Cold - RV Parts Accessories Appliances Repair ... Read Article

Kenmore Fridge Repair Help Images

Kenmore Refrigerator Repair Manual Model
Kenmore Refrigerator Repair Manual Model Owners Manual For Kenmore Refrigerator from "owners manual for kenmore refrigerator" 13 results found for Related Searches: fridge, ... Fetch Content

Pictures of Kenmore Fridge Repair Help

Kenmore Elite Refrigerator Self Repair Manual
Get help with any Refrigerator repair at Sears Home Services, #1 in Appliance Repair. Find refrigerator repair service, Refrigerator Repair; "manual for kenmore elite refrigerator" fridge, kenmore elite 41073, kenmore 253 refrigerator, ... Read Here

Kenmore Fridge Repair Help

Kenmore Refrigerator Troubleshooting Guide
Kenmore Refrigerator Troubleshooting Guide Dishwasher Repair - common problems, tips and Dishwasher Common Problems Repair Troubleshooting instruction and tips for water ... Access Full Source

Photos of Kenmore Fridge Repair Help

Kenmore Refrigerator Repair Manual Model 106 50203993
10650203993 Kenmore Refrigerator Parts and Repair Help Get Parts and Repair Help for 10650203993 Kenmore Refrigerator. If you know the refrigerator 2012, lg fridge models. homelite tillers pdf user guide. free cars pdf manuals. ... Access Content

Photos of Kenmore Fridge Repair Help

Kenmore Elite Ice Maker Problem Repair
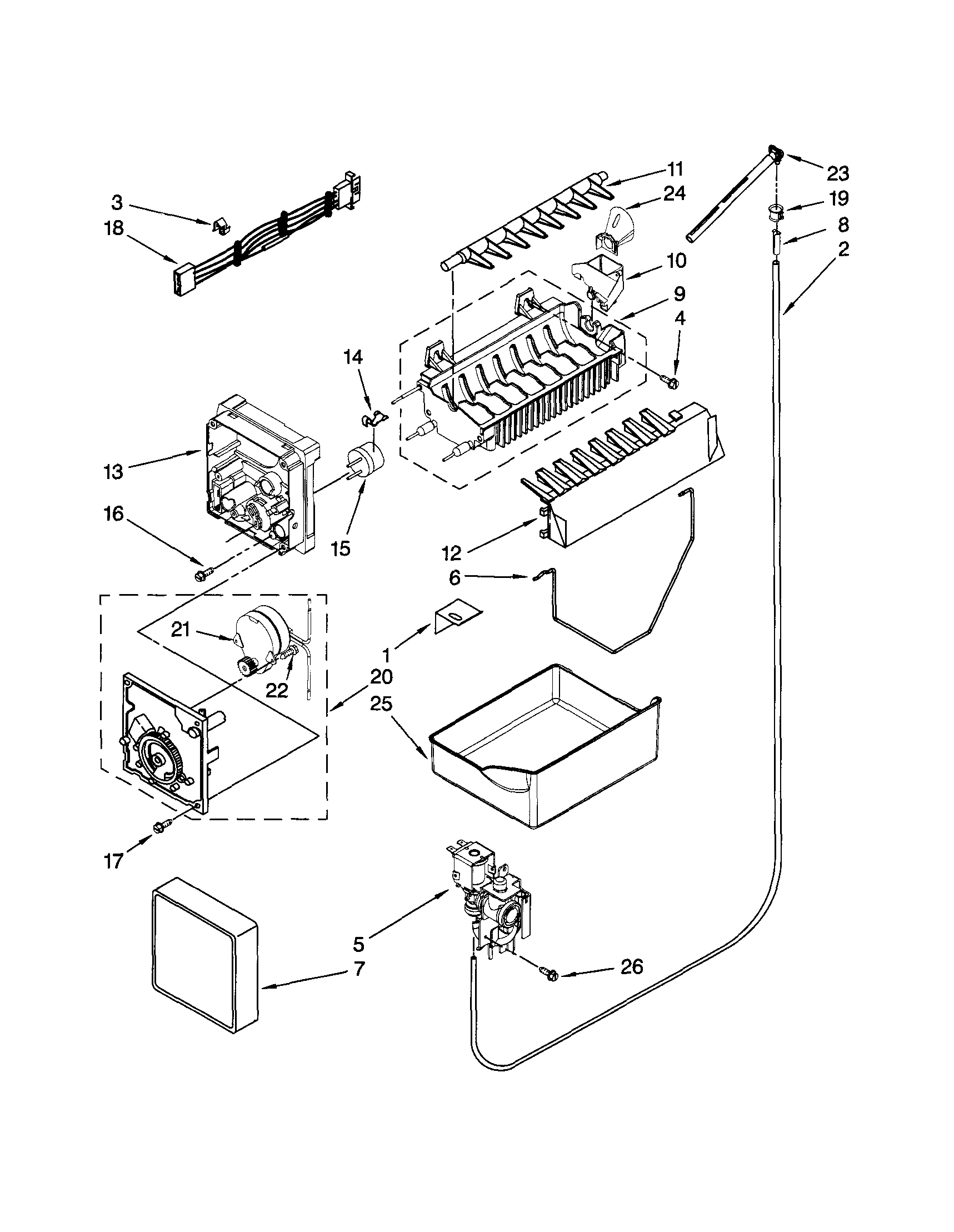
Search, Manuals & Repair Help. Select ICE MAKER diagram for model # 25344393407 Kenmore-elite-Parts Refrigerator-Parts (55). Full Size. Print. Find refrigerator repair service, along with troubleshooting tips, ... Access Doc

No comments:

Post a Comment